据知情人士透露,西安微电子党委书记兼副所长李自学,将出任中兴通讯新董事长。
中兴通讯官方对此不予置评。该知情人士称,从时间上和董事成员提名来看,李自学出任的可能性非常大。中兴通讯第一大股东是中兴新,中兴新的背后股东为西安微电子所(34%股份)+航天广宇(17%)+中兴维先通(49%股份)。
6月12日,中兴通讯在A股、港股同时发布公告,称公司已与BIS达成《替代的和解协议》。根据协议,所有罚款全部到账后,BIS才将终止激活拒绝令,并将中兴通讯从《禁止出口人员清单》中移除。
根据早前国际电子商情的报道,BIS要求中兴更换董事会成员的传闻也得到了证实,限定在6月8日开始后的30日内,完成更换中兴通讯和中兴康讯的全部董事会成员,包括两家公司的高级副总裁及以上所有的高层领导,以及所有涉事职员。

中兴通讯此前公告称,2017年度股东大会定于2018年6月29日召开。本次股东大会将增加临时提案,主要涉及《公司章程》及《董事会议事规则》的修改,以及董事和独立董事的选举议案。
整体来看,中兴通讯此次《公司章程》及《董事会议事规则》的修改实则是为董事和独立董事的选举铺路,公司可能面临上市以来最大规模的一次董事会大换血。此次股东大会将审议选举李自学、李步青、顾军营、诸为民、方榕为中兴通讯第七届董事会非独立董事的议案。
上月,知情人士称,中兴通讯非执行董事田东方已经被任命为中兴通讯党委书记。田东方此前亦任西安微电子技术研究所(771所)所长。
李自学同样来自771所,任党委书记兼副所长。中兴通讯创始人、已退休的侯为贵也出身于771所,该所隶属于中国航天科技集团公司第九研究院。
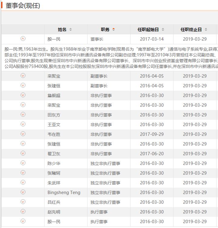
目前,尚不清楚原董事长殷一民下一步去向。
附李自学个人简历:
李自学,男,1964年出生。1987年毕业于西安交通大学电子元件与材料专业,获工学学士学位,具备研究员职称。
同年,进入西安微电子技术研究所从事微电子技术的研发及管理工作,1987年至2010年历任技术员、副主任、混合集成电路事业部副部长、部长。
2010年至2014年历任西安微电子技术研究所副所长、党委副书记、纪委书记、监事长。
2014年至2015年任西安微电子技术研究所党委书记兼纪委书记、监事长、副所长。
2015年至今任西安微电子技术研究所党委书记兼副所长。
Previous:旺季需求动能平淡,下半年NAND Flash市场价格续跌
Online messageinquiry
| model | brand | Quote |
|---|---|---|
| TL431ACLPR | Texas Instruments | |
| RB751G-40T2R | ROHM Semiconductor | |
| BD71847AMWV-E2 | ROHM Semiconductor | |
| MC33074DR2G | onsemi | |
| CDZVT2R20B | ROHM Semiconductor |
| model | brand | To snap up |
|---|---|---|
| ESR03EZPJ151 | ROHM Semiconductor | |
| IPZ40N04S5L4R8ATMA1 | Infineon Technologies | |
| BP3621 | ROHM Semiconductor | |
| TPS63050YFFR | Texas Instruments | |
| BU33JA2MNVX-CTL | ROHM Semiconductor | |
| STM32F429IGT6 | STMicroelectronics |
Qr code of ameya360 official account
Identify TWO-DIMENSIONAL code, you can pay attention to
Please enter the verification code in the image below: